240TS SMART TEE CONNECTOR

Description

Description

APPLICATION

Separable tee shape connector designed to connect polymeric insulated cable to equipment (transformers, switchgear, motors, ...).
The standardized type C interface at the back side allows for the installation of a voltage sensor.

TECHNICAL CHARACTERISTICS

  • A thick conductive EPDM jacket provides a total safe to touch screen.
  • Each separable connector is tested for AC withstand and partial discharge prior to leaving the factory.

SPECIFICATIONS AND STANDARDS

The 240TS separable connector meets the requirements of CENELEC HD 629.1.

DESIGN

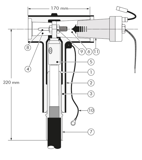
DESCRIBTION

  1. Conductive EPDM insert.
  2. Conductive EPDM jacket.
  3. Insulating EPDM layer moulded between the insert and the jacket.
  4. Type A interface as described by CENELEC EN 50180 and 50181.
  5. Conductor contact.
  6. Type C interface as described by CENELEC EN 50180 and 50181, suitable for voltage sensor.
  7. Cable reducer
  8. Contact pin.
  9. Clamping screw + flange nut.
  10. Earthing lead.
  11. Voltage sensor (optional supply)

The screen break design enables cable outer sheath testing without removing or dismantling the connector.

TECHNICAL DATA 240TS

KIT CONTENTS

The complete K240TS/G tee connector kit comprises 3 x the following components.
The kit also comprises silicone grease, installation cone, gloves, wipers, roll adhesive tape and installation instructions.

240TS KIT

SELECTION TABLE

ORDERING CONSTRUCTIONS

To order the correct tee connector kit, select the ordering part number from table W which gives you the best centring of your core  insulation diameter and substitute X using table X, according to your conductor size and type.

EXAMPLE:
The cable is 24 kV (Um), 50 mm² compact stranded copper with a diameter over core insulation of 20.5 mm.
Order 3 x K240TS/G-015-16.95UN5 tee connector kit.

OPTIONS

The 240TS can be used with standardized Interface C voltage sensors. A selection of such sensors is available from Nexans:

  • For Zelisko voltage sensor SMVSUW1001, add +UW1001 to the order reference.
  • For ABB voltage sensor KEVA24 C10 or KEVA 24 C10c (with conductive surface), add +KEVA 24 C10(c) to the order eference.

The 240TS can also be used as a regular tee connector to connect MV cable to MV equipment. For such applications, the rear interface must be sealed with an insulating plug (incl. cap). Add+400BIPA to the order reference.

Icons

Resources

Resources

Contact us

Topics on which you wish to get more informations:

Required fields*

Please check your entry and try again.

An email address must contain a single @

Personal data protector

You have the right to object to the processing of your personal data and/or their use for direct marketing or commercial purposes

Thank you!

Thanks for contacting us. We will be in touch with you shortly.

Error

An error occurred. Please try again.

Close

Contact us

Required fields*

Please check your entry and try again.

An email address must contain a single @

Personal data protector

You have the right to object to the processing of your personal data and/or their use for direct marketing or commercial purposes

Thank you!

Thanks for contacting us. We will be in touch with you shortly.

Error

An error occurred. Please try again.

Close