240TS SMARTER T-STECKER

Beschreibung

Beschreibung

ANWENDUNG

Kompakt T-Stecker für Einsatz bei kunststoffisolierten Mittelspannungskabeln mit fest verschweißten, graphitierten oder abziehbaren äußeren Leitschichten sowie bei gummiisolierten Leitungen mit abziehbaren äußeren Leitschichten. Bei anderen Kabelaufbauten bitten wir um Werksrückfrage.
Der Rückseitig Anschlusstyp C-Konus dient zur Aufnahme eines Spannungssensors.

TECHNISCHE HINWEISE

  • Kapselung durch eine dickwandige Leitschicht aus EPDM.
  • Der Stecker wird einer Stückprüfung auf Nennstehwechselspannung und Teilentladungsfreiheit unterzogen.

SPEZIFIKATIONEN UND NORMEN

Der Kompakt-T-Stecker (K)240TS/G erfüllt die Anforderungen nach CENELEC HD 629.1

DESIGN

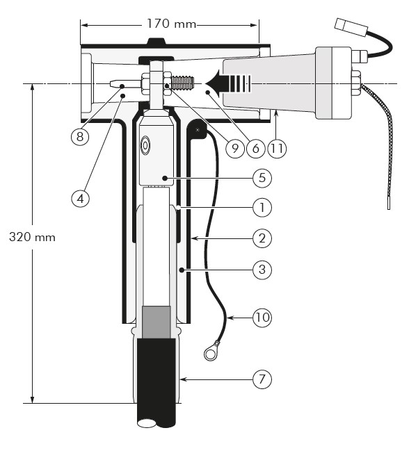
BESCHREIBUNG

  1. Steuerelektrode aus leitfähigem EPDM
  2. Kapselung aus leitfähigem EPDM
  3. Steckerisolierung aus EPDM.
  4. Anschlusstyp A, Außenkonus nach CENELEC EN 50180 und 50181
  5. Schraubanschluss
  6. Anschlusstyp C Außenkonus, nach CENELEC EN 50180 und 50181
  7. Feldsteuereinsatz
  8. Kontaktstift
  9. Feststellschraube + Flanschmutter
  10. Erdanschluss
  11. Spannungssensor

Eine Mantelfehlerprüfung des Kabels ist im aufgesteckten Zustand möglich.

TECHNISCHE DATEN 240TS

LIEFERUMFANG

Zu einem Satz (K)240TS/G Kompakt-T-Stecker gehören 3 x folgende Komponenten.

Zu einem Satz gehören auch:
+ Montageanweisung
+ Silikonfett
+ Reinigungstücher
+ Montagedorn (ab 185 mm²)
+ Klebeband
+ Handschuhe
+ Dichtmastik

240TS KIT

AUSWAHLTABELLE

BESTELLANGABEN

Um den Satz T-Stecker zu bestellen, wählen Sie anhand Tabelle W die Artikelnummer aus, passt zum Durchmesser Ø über Aderisolierung aus.

BESTELLBEISPIEL:
Für ein Kabel 24 kV (Um), mit 50 mm² Leiterquerschnitt und Ø 20.5 mm über der geschälten Aderisolierung.
Bestellen Sie laut Tabelle: 3 x K240TS/G-015-16.95UN5

OPTIONEN

Der (K)240TS/G kann mit genormten Anschlusstyp C-Spannungssensoren verwendet werden. Eine Auswahl solcher Sensoren ist bei Nexans erhältlich: 

  • Für Zelisko Spannungssensor SMVS-UW1001, fügen Sie ein +UW1001 zur Bestellung hinzu.
  • Für ABB Spannungssensor KEVA24 C10 oder KEVA 24 C10c (mit leitfähiger Oberfläche), fügen Sie ein +KEVA 24 C10(c) zur Bestellung hinzu.

Der (K)240TS/G kann auch als herkömmlicher T-Stecker zum Anschluss von Mittelspannungskabeln an Mittelspannungsanlagen mit Anschlusstyp A, 250 A verwendet werden. Für solche Anwendungen muss die Anschlusstyp C Seite mit einem Abschlusseinsatz und Abschlusskappe verschlossen werden. Bitte fügen Sie der Bestellung +400BIPA hinzu.

Icons

Ressourcen

Ressourcen

Kontaktieren Sie uns

Themen zu denen Sie weitere Informationen wünschen:

benötigte Felder*

Bitte überprüfen Sie Ihre Eingabe und versuchen Sie es erneut.

Eine Email Adresse muss ein einzelnes @ enthalten

Schutz personenbezogener Daten

Sie haben das Recht, der Verarbeitung Ihrer personenbezogenen Daten und / oder deren Verwendung für Direktmarketing- oder kommerzielle Zwecke zu widersprechen

Vielen Dank!

Danke, dass sie uns kontaktiert haben. Wir werden uns in Kürze mit Ihnen in Verbindung setzen.

Fehler

Ein Fehler ist aufgetreten. Bitte versuchen Sie es erneut.

Schliessen

Kontaktieren Sie uns

benötigte Felder*

Bitte überprüfen Sie Ihre Eingabe und versuchen Sie es erneut.

Eine Email Adresse muss ein einzelnes @ enthalten

Schutz personenbezogener Daten

Sie haben das Recht, der Verarbeitung Ihrer personenbezogenen Daten und / oder deren Verwendung für Direktmarketing- oder kommerzielle Zwecke zu widersprechen

Vielen Dank!

Danke, dass sie uns kontaktiert haben. Wir werden uns in Kürze mit Ihnen in Verbindung setzen.

Fehler

Ein Fehler ist aufgetreten. Bitte versuchen Sie es erneut.

Schliessen