489TB/G - Kompakt-T-Stecker, EPDM, Anschlusstyp C

Beschreibung

Beschreibung

Normen

  • Tests
    CENELEC HD 629.1

Beschreibung

Anwendung
Einsatz bei kunststoffisolierten Mittelspannungskabeln mit fest verschweißten, graphitierten oder abziehbaren äußeren Leitschichten sowie bei gummiisolierten Leitungen mit abziehbaren äußeren Leitschichten. Bei anderen Kabelaufbauten bitten wir um Werksrückfrage.
 

Technische Hinweise

  • Kapselung durch eine dickwandige Leitschicht aus EPDM.
  • Mehrbereichsanwendung
  • Zu verwenden mit dem Prüfadapter 800TR/800TR-A.
  • Der Stecker wird einer Stückprüfung auf Teilentladungsfreiheit und Nennstehwechselspannung unterzogen.
     

Spezifikationen und Normen
Der Kompakt-T-Stecker 489TB/G erfüllt die Anforderungen nach CENELEC HD 629.1.

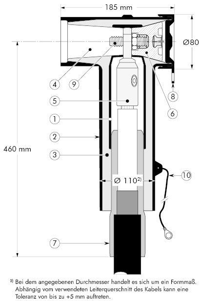
Zeichnung 489TB

Beschreibung und Abmessungen 489TB

1. Steuerelektrode aus EPDM
2. Kapselung aus leitfähigem EPDM
3. Steckerisolierung aus EPDM
4. Anschlusstyp C1 + C2 Außenkonus nach CENELEC EN 50180 und EN 50181
5. Schraub- oder Pressanschluss
6. Schraub-Abschlusseinsatz (mit kapazitivem Testpunkt)
7. Feldsteuereinsatz
8. Kappe
9. M16 Gewindebolzen mit Federring und Mutter
10. Erdanschluss
 

Eine Mantelfehlerprüfung des Kabels ist im aufgesteckten Zustand möglich.
 

2) Bei dem angegebenen Durchmesser handelt es sich um ein Formmaß. Abhängig vom verwendeten Leiterquerschnitt des Kabels kann eine Toleranz von bis zu +5 mm auftreten.

 

Technische Daten 489TB

 

 

Lieferumfang 489TB

Zu einem Satz (K)(M)(P)489TB/G Kompakt-T-Stecker gehören folgende Komponenten.

Standard Lieferprogramm:

M16 Gewindebolzen mit Federring und Mutter
Schraub- Abschlusseinsatz mit Kappe (K)(M)(P)800BIPA
Steckergehäuse (K)(M)(P)489BT/G
Feldsteuereinsatz 911CA
Schraubanschluss TMBC
 

Anwendung Pressanschluss:

M16 Gewindebolzen mit Federring und Mutter
Schraub- Abschlusseinsatz mit Kappe (K)(M)(P)800BIPA
Steckergehäuse (K)(M)(P)489BT/G
Feldsteuereinsatz 911CA
Pressanschluss TBC

 

Für die Anwendung mit Pressanschluss sind bei Bestellung die Kabeldaten mit Angabe der Leiterform, des Leiterquerschnitts und des Leitermaterials erforderlich.

 

Zu einem Satz gehören auch:

+ Montageanweisung
+ Silikonfett
+ Reinigungstücher
+ Kabelschuhe für den Schirm

 

Kit 489TB

Auswahltabelle 489TB

Bestellangaben 489TB

Bei Bestellung die Artikelnummer lt. Artikelzuordnung angeben (siehe Tabelle).

Bestellbeispiel
1 Satz Kompakt-T-Stecker für 12/20 kV, 800 mm² mit Schraubanschluss. Bestellen Sie laut Tabelle: K489TB/G unter der Artikelnummer 57200.
 

Anmerkung:
Die Zuordnung gilt nur für VPE-isolierte Kabel (Abmessungen nach DIN VDE 0276-620) mit abschälbaren Leitschichten.
 

4) Da die Abmessungen für Kabel der Spannungsebene 20,8/36 (42) kV noch nicht standardisiert sind, sind die in der Tabelle angegebenen Leiterquerschnitte und deren Zuordnung der Durchmesser über Isolierung nur als Richtwerte zu betrachten.
Bei der Garnituren-Bestellung für diese Kabel bitten wir Sie, den überprüften Durchmesser über Aderisolierung mit anzugeben.

 

Piktogramme 489TB

Technische Hinweise und Anwendungsinformationen (Garnituren)

Die angegebenen Daten wurden gewissenhaft ermittelt, befreien Sie aber nicht von der eigenen Prüfung der von uns gelieferten Produkte auf ihre Eignung für die beabsichtigten Zwecke. Dem aktuellen Stand der Technik folgend, behalten wir uns vor, Änderungen an Kennwerten und Leistungsmerkmalen vorzunehmen. Die Verarbeitung und Anwendung der Produkte erfolgen außerhalb unserer Kontrollmöglichkeit und liegen daher ausschließlich in Ihrem Verantwortungsbereich.

Unsere Erzeugnisse entsprechen den einschlägigen VDE-Bestimmungen, bzw. - soweit erschienen - den entsprechenden DIN-Blättern und IEC-Empfehlungen.

Achtung: Vor Ersteinsatz unbedingt Rücksprache mit dem Hersteller halten.

Die im Katalog beschriebenen Produkte sind für den Anschluss von Energieleiterkabeln (Klasse 1 & 2) der Leiterbauformen rund-eindrähtig (RE) und rund-mehrdrähtig (RM), sektor-eindrähtig (SE) und sektor-mehrdrähtig (SM) sowie rund-mehrdrähtig-verdichtet (RMV) ausschließlich auf blanken Leitern vorgesehen. Leiterfüllmaterialien wie Quellbänder, Puder oder Ähnliches sind vor der Montage vollständig zu entfernen. Die Prüfung der Verwendbarkeit auf Grundlage der tatsächlich vorliegenden Leiterabmessung, obliegt im Einzelfall dem Anwender. Dies gilt auch für die Verwendung der Produkte beim Einsatz flexibler Leiter (Klasse 5 & 6).

Montage mit Schlagschrauber: Nur die von Nexans freigegebenen Schlagschrauber verwenden! In Abhängigkeit von unterschiedlichem Leitermaterial bzw. unterschiedlicher Leiterkonstruktion können sich Abweichungen von den Prüfwerten nach IEC 61238-1 ergeben. Einsatz feindrähtiger Leiter nur nach Rücksprache mit Nexans Power Accessories Germany GmbH.

Unsere Geschäftsbedingungen entsprechen der jeweils neuesten Ausgabe der „Allgemeinen Lieferbedingungen für Erzeugnisse und Leistungen der Elektroindustrie“. Auf Wunsch senden wir Ihnen eine Kopie zu.

Das Verbindungsmaterial wird vorwiegend in Kartons verpackt geliefert. Wir verwenden nur recyclingfähige Verpackungsmaterialien nach der neuen Verpackungsordnung. Faltkartons werden nicht zurückgenommen. Nach Möglichkeit sind nur vollständige Normalverpackungen zu bestellen.

Der Nachdruck dieses Katalogs ist, auch auszugsweise, nur mit besonderer Erlaubnis gestattet. Änderungen bleiben uns ausdrücklich vorbehalten. Die Abbildungen und Zeichnungen sind nicht unbedingt maßgebend. Die Gewichtsangaben sind annähernd und schließen die Kartonverpackung mit ein. Mit diesem Katalog werden frühere Ausgaben ungültig. Ausführungen, die nicht im Katalog enthalten sind, erhalten Sie auf Anfrage.

Hof, im Mai 2021

Ressourcen

Ressourcen

Kontaktieren Sie uns

Themen zu denen Sie weitere Informationen wünschen:

benötigte Felder*

Bitte überprüfen Sie Ihre Eingabe und versuchen Sie es erneut.

Eine Email Adresse muss ein einzelnes @ enthalten

Schutz personenbezogener Daten

Sie haben das Recht, der Verarbeitung Ihrer personenbezogenen Daten und / oder deren Verwendung für Direktmarketing- oder kommerzielle Zwecke zu widersprechen

Vielen Dank!

Danke, dass sie uns kontaktiert haben. Wir werden uns in Kürze mit Ihnen in Verbindung setzen.

Fehler

Ein Fehler ist aufgetreten. Bitte versuchen Sie es erneut.

Schliessen

Kontaktieren Sie uns

benötigte Felder*

Bitte überprüfen Sie Ihre Eingabe und versuchen Sie es erneut.

Eine Email Adresse muss ein einzelnes @ enthalten

Schutz personenbezogener Daten

Sie haben das Recht, der Verarbeitung Ihrer personenbezogenen Daten und / oder deren Verwendung für Direktmarketing- oder kommerzielle Zwecke zu widersprechen

Vielen Dank!

Danke, dass sie uns kontaktiert haben. Wir werden uns in Kürze mit Ihnen in Verbindung setzen.

Fehler

Ein Fehler ist aufgetreten. Bitte versuchen Sie es erneut.

Schliessen